index
logo

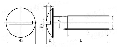
开槽圆头螺钉 IS 8822 - 1978

选择规格尺寸 点击↓

M6

M8

M10

IS  8822 - 1978 开槽圆头螺钉

尺寸单位: mm
印标IS 8822 - 1978 IS8822 8822IS 开槽圆头螺钉
IS  8822 - 1978 开槽圆头螺钉
扫一扫分享
螺纹尺寸
d
M6 M8 M10
d 最大值
最小值
n 最大值
最小值
k 公称
最大值
最小值
dk 公称
最大值
最小值
t 最大值
最小值
6.48 8.58 10.58
5.52 7.42 9.42
1.8 1.8 2.8
1.6 1.6 2.5
4 5 6
4.375 5.375 6.375
3.625 4.625 5.625
13 16 20
13.55 16.55 20.65
12.45 15.45 19.35
2.1 2.6 3
1.6 2 2.4
①,L(js17):12、16、20、25、30、40、45、50,如果需要,最多300mm,50mm后间隔为10mm。
②,b:L≤80mm为全螺纹;L>80mm,b值为80mm。
注:技术数据仅供参考,请以官方原件为准!
类似标准及供货信息
1 开槽圆头螺钉 附表JA.8 [日标]
JIS B 1101 (JA8) - 2017
开槽圆头螺钉 附表JA.8
Slotted Round Head Screws - Table JA.8
2 开槽圆头螺钉 附表6 [Annex Attached Table 6] [日标]
JIS B 1101 (AAT6) - 1996
开槽圆头螺钉 附表6 [Annex Attached Table 6]
Slotted Round Head Screws [Annex Attached Table 6]
3 开槽圆头螺钉 [Table 2] (A307, SAE J429, F468, F593) [美标]
ASME/ANSI B 18.6.2 (T2) - 1998 (R2010)
开槽圆头螺钉 [Table 2] (A307, SAE J429, F468, F593)
Slotted Round Head Cap Screws [Table 2] (A307, SAE J429, F468, F593)
4 英制开槽圆头螺钉 - B.S.W. & B.S.F. 螺纹 [Table 4] [英标]
BS 450 - 1958
英制开槽圆头螺钉 - B.S.W. & B.S.F. 螺纹 [Table 4]
Slotted Round Head Screws with B.S.W. & B.S.F. Threads [Table 4]
5 开槽圆头螺钉 [台湾]
CNS 9671 - 1988
开槽圆头螺钉
Slotted Round Head Machine Screws
6 半圆头螺钉 开槽 [军标]
GJB 3372 (/25~/31) - 1998
半圆头螺钉 开槽
Slotted Round Head Screws
7 半圆头不脱出螺钉 [军标]
GJB 3372 (/53) - 1998
半圆头不脱出螺钉
Slotted Round Head Screws with Waisted Shank
8 开槽圆头螺钉  (ASTM F837, F468) [TABLE 2.2.11-1] [美标]
ASME B 18.6.3 (H11A) - 2024
开槽圆头螺钉 (ASTM F837, F468) [TABLE 2.2.11-1]
Slotted Round Head Screws (ASTM F837, F468) [TABLE 2.2.11-1]
9 开槽圆头凸缘(带垫、带介)螺钉 (ASTM F837, F468) [TABLE 2.2.12-1] [美标]
ASME B 18.6.3 (H12A) - 2024
开槽圆头凸缘(带垫、带介)螺钉 (ASTM F837, F468) [TABLE 2.2.12-1]
Slotted Round Washer Head Screws (ASTM F837, F468) [TABLE 2.2.12-1]
10 开槽圆头螺钉 [Table 35] (ASTM F837, F468) [美标]
ASME B 18.6.3 (T35) - 2013
开槽圆头螺钉 [Table 35] (ASTM F837, F468)
Slotted Round Head Screws [Table 35] (ASTM F837, F468)
11 开槽圆头凸缘(带垫、带介)螺钉 [Table 38] (ASTM F837, F468) [美标]
ASME B 18.6.3 (T38) - 2013
开槽圆头凸缘(带垫、带介)螺钉 [Table 38] (ASTM F837, F468)
Slotted Round Washer Head Screws [Table 38] (ASTM F837, F468)
12 开槽圆头螺钉 [航天]
QJ 2369 - 1992
开槽圆头螺钉
Slotted Round Head Screws
13 开槽圆头螺钉 [航天]
QJ 2386 - 1992
开槽圆头螺钉
Slotted Round Head Screws
© 易紧通 服务热线:4006-164580(免长途费)