index
logo

汽车用球销球座 QC /T 329 - 1999

选择规格尺寸 点击↓

8

8

10

10

12

12

同规格,其他部分尺寸不同
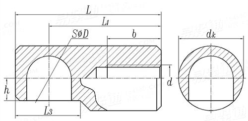
QC /T 329 - 1999 汽车用球销球座

尺寸单位: mm
汽标QC /T329 - 1999 QC329 329QC 汽车用球销球座
QC /T 329 - 1999 汽车用球销球座
扫一扫分享
公称直径
D
8 8 10 10 12 12
D 最大值
最小值
dk
d
h
L
L1
b
L3
8.058 8.058 10.058 10.058 12.07 12.07
8 8 10 10 12 12
12 12 14.5 14.5 17.5 17.5
M5 M5 M6 M6 M8*1 M8*1
4 4 5 5 6 6
27 42 32.5 47.5 38 53
21 36 25 40 29 44
10 25 12 27 14 29
12 12 14.5 14.5 17.5 17.5
注:技术数据仅供参考,请以官方原件为准!
类似标准及供货信息
1 球面铰链和球形轴套组合 [德标]
DIN 71802 - 1992
球面铰链和球形轴套组合
Ball Joints with or Without Circlips
2 角形头,球形轴套,保险环 [德标]
DIN 71805 - 1990
角形头,球形轴套,保险环
Angle Joints; Housings, Circlips
3 球面铰链 [德标]
DIN 71803 - 1988
球面铰链
Angle Joints with Screw Studs, with Rivet Studs
4 双端球形销 [德标]
DIN 48059 - 1978
双端球形销
Twin-balled Pins for Overhead Power Lines
5 汽车用球销球座 [汽标代号]
Q 743
汽车用球销球座
Ball Pin Seat for Motor Vehicles
6 汽车用球销球座 - 左旋螺纹 [汽标代号]
Q 744
汽车用球销球座 - 左旋螺纹
Ball Pin Seat for Motor Vehicles - Left Hand Thread
7 汽车用螺杆式球销 [汽标代号]
Q 745
汽车用螺杆式球销
Screw Type Ball Pin for Motor
8 汽车用球头接头 - 右旋螺纹 [汽标代号]
Q 746
汽车用球头接头 - 右旋螺纹
Ball Joints for Motor Vehicles - Right-hand Thread
9 汽车用球头接头 - 左旋螺纹 [汽标代号]
Q 747
汽车用球头接头 - 左旋螺纹
Ball Joints for Motor Vehicles - Left-hand Thread
10 保险阀 - 阀杆 [汽标代号]
Q 902B.2
保险阀 - 阀杆

11 球头支承 [机械行业]
JB /T 8026.5 - 1999
球头支承
Spherical Head Supporters
12 汽车用球头接头 [汽标]
QC /T 327 - 1999
汽车用球头接头
Ball Joint for Motor Vehicles
13 汽车用螺杆式球销 [汽标]
QC /T 328 - 1999
汽车用螺杆式球销
Screw Type Ball Pin for Motor Vehicles
14 保险阀 - 阀杆 [汽标]
QC /T 411 (-2) - 1999
保险阀 - 阀杆

© 易紧通 服务热线:4006-164580(免长途费)